Logo Adler SAS, la technique au service du verre
Schéma

 

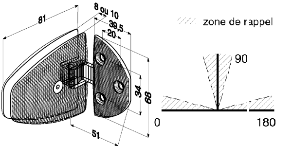
ARTICLE : 64883A

charnière à indexage venus gl/gl.135 ép.8 x2 laiton blanc

 
charnière à indexage venus gl/gl.135 ép.8 x2 laiton blanc