Logo Adler SAS, la technique au service du verre
Sketch

 

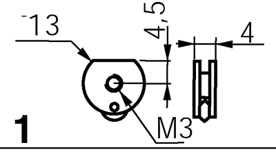
ITEM : 12372Y

cutting wheel Vitrum® P x 1

 
cutting wheel Vitrum® P x 1